0577-67354191
商務合作:15867725552@163.com球閥 塑料球閥 塑料承插焊 塑料螺紋球閥 塑料手動球閥 Q11F塑料球閥 Q61F塑料球閥 FRPP塑料球閥 UPVC塑料球閥 CPVC塑料球閥 PVDF塑料球閥 化工塑料球閥 滄海塑料球閥 塑料球閥尺寸 塑料球閥溫度 塑料球閥介質 塑料球閥重量 塑料球閥廠家 塑料球閥價格 塑料內螺紋球閥 塑料雙活接球閥 塑料雙由令球閥
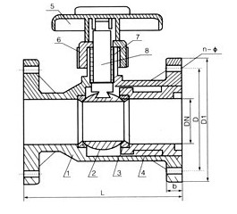
Q341F塑料渦輪球閥-UPVC渦輪式塑料法蘭球閥概述:
使用范圍有結構特點: 適用于帶腐蝕性介質的輸送過程的截流,根據不同材質溫度-14℃~100℃、-40℃~140℃。 全部零件采用RPP或PVDF注塑件組裝成型,耐腐蝕
性能優良。 密封圈采用F4。耐腐性能優異,延長使用壽命。轉動靈活、使用方便。
整體式球閥泄漏點少,強度高,連接式球閥裝拆方便。 球閥的安裝使用: 兩端法蘭與管路連接時,
要均勻擰緊螺栓,防止法蘭變形造成泄漏。 順時針方向旋轉手柄為關閉,反之為開啟。
只可作斷流、通流,不宜有流量調節。 含硬顆粒液體容易使球表面劃傷。
Q341F塑料渦輪球閥-UPVC渦輪式塑料法蘭球閥-Q41F塑料球閥尺寸表:

DN | D1 | D | L | d | n | ¢ | 公稱壓力 | ||||||||||
HG | JIS | DIN | ANSI | HG | JIS | DIN | ANSI | HG | JIS | DIN | ANSI | PVDF | RPP | ||||
15 | 95 | 65 | 70 | 65 | 60 | 100 | 14 | 4 | 4 | 4 | 4 | 14 | 15 | 14 | 16 | 1.2 | 1 |
20 | 105 | 75 | 75 | 75 | 70 | 120 | 16 | 4 | 4 | 4 | 4 | 14 | 15 | 14 | 16 | 1.2 | 1 |
25 | 115 | 85 | 90 | 85 | 80 | 140 | 16 | 4 | 4 | 4 | 4 | 14 | 19 | 14 | 16 | 1.2 | 1 |
32 | 135 | 100 | 160 | 16 | 4 | 18 | 1.2 | 1 | |||||||||
40 | 145 | 110 | 105 | 110 | 98 | 165 | 16 | 4 | 4 | 4 | 4 | 18 | 19 | 18 | 16 | 1.2 | 1 |
50 | 160 | 125 | 120 | 125 | 120 | 180 | 18 | 4 | 4 | 4 | 4 | 18 | 19 | 18 | 19 | 1.2 | 1 |
65 | 180 | 145 | 140 | 145 | 140 | 220 | 22 | 4 | 4 | 4 | 4 | 18 | 19 | 18 | 14 | 1.2 | 1 |
80 | 195 | 160 | 150 | 160 | 152 | 250 | 25 | 4 | 8 | 8 | 4 | 18 | 19 | 18 | 14 | 1.2 | 1 |
100 | 215 | 160 | 175 | 180 | 190 | 280 | 25 | 8 | 8 | 8 | 8 | 18 | 19 | 18 | 19 | 1.2 | 1 |
125 | 245 | 210 | 210 | 210 | 216 | 320 | 30 | 8 | 8 | 8 | 8 | 18 | 23 | 18 | 22 | 1 | 0.8 |
150 | 280 | 240 | 240 | 240 | 240 | 360 | 30 | 8 | 8 | 8 | 8 | 23 | 23 | 23 | 22 | 1 | 0.8 |
200 | 335 | 295 | 295 | 295 | 298 | 400 | 35 | 8 | 12 | 8 | 8 | 23 | 23 | 23 | 22 | 0.8 | 0.8 |
250 | 395 | 350 | 355 | 350 | 362 | 500 | 38 | 12 | 12 | 12 | 12 | 23 | 23 | 23 | 22 | 0.8 | 0.6 |
300 | 455 | 400 | 400 | 400 | 432 | 600 | 40 | 12 | 16 | 12 | 12 | 23 | 25 | 23 | 25 | 0.8 | 0.5 |
Q341F塑料渦輪球閥-UPVC渦輪式塑料法蘭球閥-Q41F塑料球閥零件材質表:
NO | 名稱 | 材質 |
1 | 閥體 | FRPP、PVDF、CPVC |
2 | 球 | FRPP、PVDF、CPVC |
3 | 密封圈 | PTER〈F4〉 |
4 | 內塞 | FRPP、PVDF、CPVC |
5 | 手柄 | ABS |
6 | 壓緊螺母 | FRPP、PVDF、CPVC |
7 | 密封 | PTER〈F4〉 |
8 | 閥桿 | FRPP、PVDF、CPVC |
塑料原材料名稱及適用溫度:
UPVC 硬聚氯乙烯 溫度-10 °C~70 °C
CPVC 氯化聚氯乙烯 溫度-40 °C~95 °C
RPP 增強聚丙稀 溫度-20 °C~90 °C
PVDF 聚偏二氟乙烯 溫度40 °C~140 °C
您有閥門設備需求?即刻聯系我們吧!聯系我們